春亨产品中心
- 按产品特性分类
- 水平仪 偏心仪 角度计 直角尺 同心度仪 高速主轴 内外测卡规 打磨机 钻石膏 各种量表 磨刀石 研磨油石 切削刀具 研磨刷 研磨工具 磁性工具 放大镜 内视镜 卡尺 千分尺 圆周尺 扭力工具 针规 间隙规 速度测试 高度尺/计 测量工具 硬度计 段差尺 焊道规 V型座 磁性吸盘 推拉力计 吊重磁盘 工业胶粘剂 研磨抛光 钳类工具 旋具工具 热敏试纸 粘度计 电子称 金属锉刀 复制胶膜 螺帽规 背孔刀 气动主轴 自动换刀主轴 防静电主轴 MSIY电主轴 高精密主轴 大扭矩电主轴 高斯计 直角电主轴 进口百分表 扭力起子 中村扭力扳手 脱磁器 螺纹深度规 主轴增速刀柄 RBZ浮动主轴 中心出水电主轴 气浮主轴 螺纹规
- 按应用领域分类
- 工程机械 数控机床 汽车制造 电子/光电 橡胶皮革检测 船舶制造 实验室/研究院 纺织业 精加工 雕刻 珠宝首饰 陶瓷工业 抛光去毛刺 PCB分板机加工 铣削加工 钻孔动力头 医疗加工 走心机高频铣 浮动去毛刺 小径深孔加工
- 按品牌分类
- AAA ASKER B2 BOWERS CITIZEN DMT FUJITOOL FISSO FUJIGEN HONDA GLOI HEINE KANETEC IMADA KANON KAYDIAMOND KROEPLIN MEYER MARUI MITUTOYO NAKANISHI PEACOCK PEAK PHOENIX PI-TAPE RSK RHEINTACHO SK SPI SUN SUPERTECH SWAN UNIVERSAL NOVAPAX XEBEC WIXEY Teclock tohnichi 富士KOSOKU RUBICON KEIBA TAJIMA NIKON Stanley SPI Engeering MARKAL PTC TMC THERMAX RION SHINKO STAO佐藤 TSUBOSAN OSKAR SCHWENK MARK-10 Microset starrett EENPAIX OJIYAS DIGITECH ROECKLE tites swiss Yamato Cherry DAIWA RABIN MSIY NRS PPS NSK
相关资讯
- 高转速加工需求,机床转速达不到怎么办?
- 西铁城走心机L12,加装中西微型主轴铣医疗异型件
- 日本peacock孔雀测厚规的使用步骤及其注意事项
- 数显高度计哪个牌子好?不一定非得要NIKON!
- 国产去毛刺浮动主轴哪个牌子好?选MSIY浮动主轴
- 日本NAKANISHI高速主轴如何实现一拖四?
- 铁板分离器品牌如何选才不会上当?
- 缸盖去毛刺,机械臂加装3支直角电主轴RAX-271E
- 钢件焊缝铣削打磨抛光,用RBZ自动换刀浮动主轴
- 新品快递:RSK数显水平仪
- 日本RSK偏心仪有几种系列,分别有哪些型号?
- 进口工具代理商告诉您:工厂为何选择自动化生产
- 从价格战到价值战,RSK水平仪给机床行业的启发
- 车铣复合刀塔机加装中西高频铣,实现精密侧加工
- 氧化锆陶瓷磨削加工,用中心出水主轴BMS-4020-MQL
- 精密机床专用高速主轴ISPEED3
- 机器人钢件铣削振动大?高刚性主轴BMS-4040-RGD
- 看日本NSK自动换刀主轴,如何快速实现自动化去毛刺?
- xebec陶瓷纤维刷A11-CB25M,,铝合金表面去毛刺
- 万向磁性表座——瑞士FISSO
咨询热线:
13612997620
传真:彩博8880755-23033513
Q Q:
地址:深圳市宝安49区华创达文化科技产业园D栋507
产品详情
联系我们
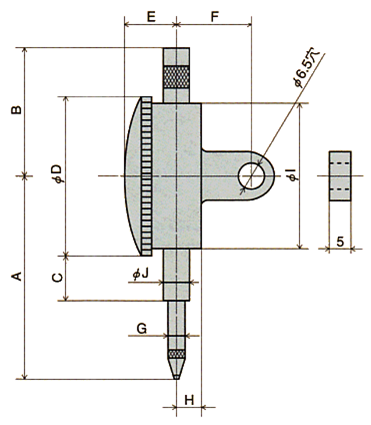
日本孔雀PEACOCK百分表107系列
日本孔雀百分表107系列是比较常用的指针式百分表,是标准型的量表,ZUI小读值0.01mm,测量范围10mm。
孔雀百分表107规格参数

型号 | 最小读值mm | 测定范围mm | 外观尺寸mm | 测定压力N以下 | ||||
A | B | D | G | J | ||||
107 | 0.01 | 10 | 65 | 41.5 | 53 | 4 | 8 | 1.4 |
107-DX | 0.01 | 10 | 68 | 41.5 | 55 | 4 | 8 | 1.4 |
107-SWA | 0.01 | 10 | 68 | 41.5 | 55 | 4 | 8 | 1.4 |
107-HG | 0.01 | 10 | 65 | 41.5 | 53 | 4 | 8 | 1.4 |
107W | 0.01 | 10 | 65 | 41.5 | 53 | 4 | 8 | 1.4 |
107FT | 0.01 | 10 | 65 | 41.5 | 53 | 4 | 8 | 1.4 |
107-E | 0.01 | 10 | 65 | 41.5 | 53 | 4 | 8 | 初压0.4 |
57 | 0.01 | 5 | 65 | 41.5 | 53 | 4 | 8 | 1.4 |
57-SWA | 0.01 | 5 | 65 | 41.5 | 55 | 4 | 8 | 1.4 |
孔雀百分表107系列外观尺寸图


| 外观尺寸图 (mm) | ||||||||||
| 型 式 | A | B | C | D | E | F | G | H | I | J |
| 107-HG | 65 | 41.5 | 18.5 | 53 | 14.5 | 20 | 4 | 6.5 | 49 | 8 |
| 107-DX | 65 | 50.7 | 17 | 55.7 | 14.5 | 20 | 5 | 7 | 52 | 8 |
| 107 | 65 | 41.5 | 18.5 | 53 | 14.5 | 20 | 4 | 6.5 | 49 | 8 |
| 107F | 65 | 41.5 | 18.5 | 53 | 14.5 | -- | 4 | 6.5 | 49 | 8 |
| 107-SWA | 68 | 41.5 | 17.5 | 55 | 15 | 20 | 4 | 6.5 | 49 | 8 |
| 107-BL | 65 | 41.5 | 18.5 | 53 | 14.5 | 4 | 6.5 | 49 | 8 | |
| 107F-RE | 65 | 41.5 | 18.5 | 53 | 14.5 | 20 | 4 | 6.5 | 49 | 8 |
| 107-LL | 65 | -- | 18.5 | 53 | 14.5 | 20 | 4 | 6.5 | 49 | 8 |
| 107W | 65 | 41.5 | 17.5 | 55 | 17 | 20 | 4 | 6.5 | 49 | 8 |
| 107F-T | 65 | 41.5 | 18.5 | 53 | 14.5 | -- | 4 | 6.5 | 49 | 8 |
| 107-E | 65 | 41.5 | 18.5 | 53 | 14.5 | 20 | 4 | 6.5 | 49 | 8 |
| 17 | 65 | 41.5 | 18.5 | 53 | 14.5 | 20 | 4 | 6.5 | 49 | 8 |
| 57-SWA | 65 | 41.5 | 18.5 | 55 | 15 | 20 | 4 | 6.5 | 49 | 8 |
| 57 | 65 | 41.5 | 18.5 | 53 | 14.5 | 20 | 4 | 6.5 | 49 | 8 |
| 57F | 65 | 41.5 | 18.5 | 53 | 14.5 | -- | 4 | 6.5 | 49 | 8 |
| 57B | 65 | 41.5 | 18.5 | 53 | 14.5 | -- | 4 | 6.5 | 49 | 8 |
孔雀百分表,进口百分表
订购:peacock百分表107系列





.jpg)


1960544536 


