春亨产品中心
- 按产品特性分类
- 水平仪 偏心仪 角度计 直角尺 同心度仪 高速主轴 内外测卡规 打磨机 钻石膏 各种量表 磨刀石 研磨油石 切削刀具 研磨刷 研磨工具 磁性工具 放大镜 内视镜 卡尺 千分尺 圆周尺 扭力工具 针规 间隙规 速度测试 高度尺/计 测量工具 硬度计 段差尺 焊道规 V型座 磁性吸盘 推拉力计 吊重磁盘 工业胶粘剂 研磨抛光 钳类工具 旋具工具 热敏试纸 粘度计 电子称 金属锉刀 复制胶膜 螺帽规 背孔刀 气动主轴 自动换刀主轴 防静电主轴 MSIY电主轴 高精密主轴 大扭矩电主轴 高斯计 直角电主轴 进口百分表 扭力起子 中村扭力扳手 脱磁器 螺纹深度规 主轴增速刀柄 RBZ浮动主轴 中心出水电主轴 气浮主轴 螺纹规
- 按应用领域分类
- 工程机械 数控机床 汽车制造 电子/光电 橡胶皮革检测 船舶制造 实验室/研究院 纺织业 精加工 雕刻 珠宝首饰 陶瓷工业 抛光去毛刺 PCB分板机加工 铣削加工 钻孔动力头 医疗加工 走心机高频铣 浮动去毛刺 小径深孔加工
- 按品牌分类
- AAA ASKER B2 BOWERS CITIZEN DMT FUJITOOL FISSO FUJIGEN HONDA GLOI HEINE KANETEC IMADA KANON KAYDIAMOND KROEPLIN MEYER MARUI MITUTOYO NAKANISHI PEACOCK PEAK PHOENIX PI-TAPE RSK RHEINTACHO SK SPI SUN SUPERTECH SWAN UNIVERSAL NOVAPAX XEBEC WIXEY Teclock tohnichi 富士KOSOKU RUBICON KEIBA TAJIMA NIKON Stanley SPI Engeering MARKAL PTC TMC THERMAX RION SHINKO STAO佐藤 TSUBOSAN OSKAR SCHWENK MARK-10 Microset starrett EENPAIX OJIYAS DIGITECH ROECKLE tites swiss Yamato Cherry DAIWA RABIN MSIY NRS PPS NSK
相关资讯
- 日本NAKANISHI高速主轴在汽车车门内饰板的铣削应用
- NAKANISHI高速主轴故障的原因和对策
- 金属深孔加工太难了,不防试试这款中心出水主轴!
- 加工中心如何实现2mm的小径刀具加工?
- 不规则压铸件去飞边毛刺,用MSIY浮动主轴(视频)
- 机械臂加装中西nakanishi自动换刀主轴nr3060-aqc
- 钢件防滑处理新方案!机械臂加装msiy20浮动主轴
- 小型齿轮自动化倒角去毛刺,用6万转高速精密电主轴
- 日本NAKANISHI高速主轴是数控雕刻机主轴的理想选择
- KANON中村扭力扳手,型号众多满足大众客户
- 孔雀peacock百分表107F,平背型百分表通销款
- 半导体晶圆研磨为什么要选择ABT-1600气浮主轴?
- 进口水平仪如何检测?
- 强力V型磁性座KMV-80D,吸着力200N以上
- RSK水平仪大湾区工业博览会圆满落幕
- 中西NAKANISHI主轴在船舶行业的铣削应用
- NAKANISHI主轴在直角坐标式机械手上精密加工应用
- 【NAKANISHI高速主轴】报警提示及解除方法
- 津上哪几款走心机可以加装高刚性动力头NR-3060S
- 登鹏程第一高峰,观深圳高楼大厦
咨询热线:
13612997620
传真:0755-23033513
Q Q:
地址:深圳市宝安49区华创达文化科技产业园D栋507
产品详情
联系我们
MMC-5日本强力圆形磁性吸盘
磁性吸盘特点:

作为异形工件的辅助夹具与磁性吸盘配合使用,用于磨削及轻切削。
1, 在前面和后面都可进行磁力的ON/OFF切换操作。
2, 设计为防水结构,可在切削液/油中使用。
各种永磁夹具根据用途,加工物件的不同可以单独,或者也可以作为辅助夹具与磁性吸盘配合使用,广泛应用于切削、磨削、电火花加工、组合工装、检查等行业。
磁性吸盘参数:

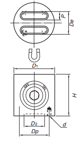
型号 | 吸着力 | 吸着面mm | 磁极间隔 | 取付面mm | 高 | 质量 | |||
D1 | De | P | Dp | D2 | d | H | |||
MMC-5 | 85N | 50 | 29 | 9.5(1.5+8) | 35 | 25 | 4-M5深7 | 50 | 0.7kg |
MMC-8 | 500N | 80 | 54 | 10(2+8) | 60 | 50 | 4-M6深10 | 65 | 2.2kg |

强力圆形磁性吸盘,强力迷你磁性吸盘,永磁磁性吸盘
订购:MMC-5日本强力圆形磁性吸盘








1960544536 


