春亨产品中心
- 按产品特性分类
- 水平仪 偏心仪 角度计 直角尺 同心度仪 高速主轴 内外测卡规 打磨机 钻石膏 各种量表 磨刀石 研磨油石 切削刀具 研磨刷 研磨工具 磁性工具 放大镜 内视镜 卡尺 千分尺 圆周尺 扭力工具 针规 间隙规 速度测试 高度尺/计 测量工具 硬度计 段差尺 焊道规 V型座 磁性吸盘 推拉力计 吊重磁盘 工业胶粘剂 研磨抛光 钳类工具 旋具工具 热敏试纸 粘度计 电子称 金属锉刀 复制胶膜 螺帽规 背孔刀 气动主轴 自动换刀主轴 防静电主轴 MSIY电主轴 高精密主轴 大扭矩电主轴 高斯计 直角电主轴 进口百分表 扭力起子 中村扭力扳手 脱磁器 螺纹深度规 主轴增速刀柄 RBZ浮动主轴 中心出水电主轴 气浮主轴 螺纹规
- 按应用领域分类
- 工程机械 数控机床 汽车制造 电子/光电 橡胶皮革检测 船舶制造 实验室/研究院 纺织业 精加工 雕刻 珠宝首饰 陶瓷工业 抛光去毛刺 PCB分板机加工 铣削加工 钻孔动力头 医疗加工 走心机高频铣 浮动去毛刺 小径深孔加工
- 按品牌分类
- AAA ASKER B2 BOWERS CITIZEN DMT FUJITOOL FISSO FUJIGEN HONDA GLOI HEINE KANETEC IMADA KANON KAYDIAMOND KROEPLIN MEYER MARUI MITUTOYO NAKANISHI PEACOCK PEAK PHOENIX PI-TAPE RSK RHEINTACHO SK SPI SUN SUPERTECH SWAN UNIVERSAL NOVAPAX XEBEC WIXEY Teclock tohnichi 富士KOSOKU RUBICON KEIBA TAJIMA NIKON Stanley SPI Engeering MARKAL PTC TMC THERMAX RION SHINKO STAO佐藤 TSUBOSAN OSKAR SCHWENK MARK-10 Microset starrett EENPAIX OJIYAS DIGITECH ROECKLE tites swiss Yamato Cherry DAIWA RABIN MSIY NRS PPS NSK
相关资讯
- 不锈钢钻孔用什么主轴好?推荐这款大扭矩电主轴
- 可直接装在CNC机床上的NSK高速主轴
- 相对测量首选孔雀杠杆百分表
- 不锈钢、碳素钢钻孔,用高速电主轴BMS-4020
- 普通机床安装水平调整方法
- NSK高速主轴对模具加工的影响
- 日本FUJECEN富士元桌上型倒角机,值得拥有!
- RSK进口水平尺如何调试?
- 中西6万转高速电主轴NR-3060S可加装在哪些机床上?
- 津上走心机BO-124加装NSK直角主轴RAS-151E
- 工业机器人加装2N.m大扭矩电主轴,铣削铝合金
- 汽车压力传感器打磨抛光,用电主轴BMS-4020更高效
- 玩具电机专业扭力测试-KANON扭力计SGK
- 一文了解2022年冬奥会之短道速滑小百科
- 加工中心用φ0.3mm铣网纹,加装15万转增速刀柄
- 高速主轴在手机制造中的应用
- KROEPLIN进口卡规
- KANON扭力扳手N25QLK-SW和N25QLK-SWPM区别
- 日本nakanishi一体式电动高速主轴有哪些型号?
- NSK主轴如何选择夹头尺寸?
咨询热线:
13612997620
传真:0755-23033513
Q Q:
地址:深圳市宝安49区华创达文化科技产业园D栋507
产品详情
联系我们
孔雀千分表5B
产品特点:

测头连接微型轴承,提升了测量的稳定性和敏感度。
O型环设计提高了防水和防油性。
淬火硬化,强度大。
凸背,可旋转90°使用。
产品参数:

型号: 5B
精度:0.001mm
量程:1.0mm
测头型号为:X-1
特性:凸背
型 式 | 目 量 | 测定范围 | 刻度规格 | 指示誤差 (μm) | 返回误差 | 重复 | 測定力 | ||||
1/10旋转 | 1/2旋转 | 1旋转 | 2旋转 | 全測定 | |||||||
5B-HG | 0.001 | 1 | 0 - 100 - 0 | 2 | ±2 | ±3 | ±3 | ±3 | 2 | 0.5 | 1.5 |
5B | 0.001 | 1 | 0 - 100 - 0 | 2.5 | ±3 | ±4 | ±4 | ±5 | 3 | 0.5 | 1.5 |
5F | 0.001 | 1 | 0 - 100 - 0 | 2.5 | ±3 | ±4 | ±4 | ±5 | 3 | 0.5 | 1.5 |
5-DX | 0.001 | 1 | 0 - 100 - 0 | 2.5 | ±3 | ±4 | ±4 | ±5 | 3 | 0.5 | 1.5 |
5-SWF | 0.001 | 1 | 0 - 100 - 0 | 2.5 | ±3 | ±4 | ±4 | ±5 | 3 | 0.5 | 1.5 |
25 | 0.001 | 2 | ±0 - 100 - 0 | 4 | ±5 | ±6 | ±6 | ±7 | 3 | 0.5 | 1.5 |
25S | 0.001 | 2 | 0 - 100 - 0 | 4 | ±5 | ±6 | ±6 | ±7 | 3 | 0.5 | 1.5 |
25F-RE | 0.001 | 2 | ±0 - 100 - 0 | 4 | ±5 | ±6 | ±6 | ±7 | 3 | 0.5 | 1.5 |
55 | 0.001 | 5 | 0 - 100 - 0 | 5 | ±6 | ±7 | ±8 | ±10 | 4 | 1 | 1.5 |
55-DX | 0.001 | 5 | 0 - 100 - 0 | 5 | ±6 | ±7 | ±8 | ±10 | 4 | 1 | 1.5 |
56 | 0.005 | 5 | 0 - 25 - 50 | 6 | ±10 | ±10 | ±12 | ±12 | 5 | 5 | 1.5 |
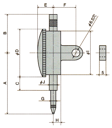
产品尺寸:

型 式 | A | B | C | D | E | F | G | H | I | J |
5B-HG | 60 | 41.5 | 18.5 | 53 | 14.5 | 20 | 4 | 6.5 | 49 | 8.0 |
5-DX | 60 | 42.6 | 17 | 55.7 | 14.5 | 20 | 5 | 7 | 52 | 8.0 |
5B | 60 | 41.5 | 18.5 | 53 | 14.5 | 20 | 4 | 6.5 | 49 | 8.0 |
5F | 60 | 41.5 | 18.5 | 53 | 14.5 | -- | 4 | 6.5 | 49 | 8.0 |
5-SWF | 63 | 41.5 | 17.5 | 55 | 15 | 20 | 4 | 6.5 | 49 | 8.0 |
25 | 72 | 42 | 25 | 66.5 | 14.5 | 20 | 4 | 7.5 | 62.5 | 8.0 |
25F-RE | 72 | 41 | 25 | 66.5 | 14.5 | -- | 4 | 7.5 | 62.5 | 8.0 |
25S | 60 | 42.6 | 17 | 55.7 | 14.5 | 20 | 5 | 7 | 52 | 8.0 |
55 | 73 | 52 | 25 | 66 | 17 | 20 | 4.5 | 7 | 62.5 | 8.0 |
55-DX | 62 | 44.5 | 17 | 57 | 17 | 19.5 | 4.5 | 6.5 | 52 | 8.0 |
56 | 62 | 44.5 | 17 | 57 | 17 | 19.5 | 4.5 | 6.5 | 52 | 8.0 |

彩博888 订购:孔雀针盘式千分表5B








1960544536