春亨产品中心
- 按产品特性分类
- 水平仪 偏心仪 角度计 直角尺 同心度仪 高速主轴 内外测卡规 打磨机 钻石膏 各种量表 磨刀石 研磨油石 切削刀具 研磨刷 研磨工具 磁性工具 放大镜 内视镜 卡尺 千分尺 圆周尺 扭力工具 针规 间隙规 速度测试 高度尺/计 测量工具 硬度计 段差尺 焊道规 V型座 磁性吸盘 推拉力计 吊重磁盘 工业胶粘剂 研磨抛光 钳类工具 旋具工具 热敏试纸 粘度计 电子称 金属锉刀 复制胶膜 螺帽规 背孔刀 气动主轴 自动换刀主轴 防静电主轴 MSIY电主轴 高精密主轴 大扭矩电主轴 高斯计 直角电主轴 进口百分表 扭力起子 中村扭力扳手 脱磁器 螺纹深度规 主轴增速刀柄 RBZ浮动主轴 中心出水电主轴 气浮主轴 螺纹规
- 按应用领域分类
- 工程机械 数控机床 汽车制造 电子/光电 橡胶皮革检测 船舶制造 实验室/研究院 纺织业 精加工 雕刻 珠宝首饰 陶瓷工业 抛光去毛刺 PCB分板机加工 铣削加工 钻孔动力头 医疗加工 走心机高频铣 浮动去毛刺 小径深孔加工
- 按品牌分类
- AAA ASKER B2 BOWERS CITIZEN DMT FUJITOOL FISSO FUJIGEN HONDA GLOI HEINE KANETEC IMADA KANON KAYDIAMOND KROEPLIN MEYER MARUI MITUTOYO NAKANISHI PEACOCK PEAK PHOENIX PI-TAPE RSK RHEINTACHO SK SPI SUN SUPERTECH SWAN UNIVERSAL NOVAPAX XEBEC WIXEY Teclock tohnichi 富士KOSOKU RUBICON KEIBA TAJIMA NIKON Stanley SPI Engeering MARKAL PTC TMC THERMAX RION SHINKO STAO佐藤 TSUBOSAN OSKAR SCHWENK MARK-10 Microset starrett EENPAIX OJIYAS DIGITECH ROECKLE tites swiss Yamato Cherry DAIWA RABIN MSIY NRS PPS NSK
相关资讯
- E-ASKER橡胶硬度计特价促销
- 西铁城走心机M16可加装8个NAKANISHI高频铣动力头
- 发那科小黄机微小孔加工,加装中西高频铣可实现
- 一分钟看懂NAKANISHI高速主轴在喷丝板的钻孔应用
- 中西nakanishi内圆研磨主轴案例汇总
- 这四种去除刀痕的方法,总有一种适合你!
- 为何日本RSK水平仪经常会卖断货?
- 日本NAKANISHI电主轴维修需要定期做吗?
- 中西nakanishi气动主轴最高转速多少?
- 美国starrett施泰力精密量具春亨工具优势供应
- 推荐您一款好用的磁性水平仪,教您挑战工作中的困难
- NAKANISHI主轴外部连接输出功能介绍
- 排刀机铣圆柱体扁位,加装MSIY-3316无刷电主轴
- RSK偏摆仪使用方法
- 内外径测量神器,德国KROEPLIN卡规
- 日本超声波打磨机US-25PBS的使用及维护
- 汽车轮毂去毛刺为什么要选择MSIY自动换刀浮动主轴
- 走心机加装NAKANISHI气动高频铣,扭矩可达36cN.m
- CNC加工中心四种传动结构主轴之电主轴选择!
- XEBEC深孔研磨刷,专为自动化深孔研磨而生
咨询热线:
彩博888 13612997620
传真:彩博8880755-23033513
Q Q:
地址:彩博888深圳市宝安49区华创达文化科技产业园D栋507
产品详情
联系我们
西铁城CITIZEN比测探针IPD-B505F
产品应用:

本测定器采用光电检出方式检出中心轴的直线移动量并转为数据。
与以往的表盘式计测器所采用的回转角度转换为长度的计测方式不同,本测定器全测定范围内都可以得到高精度的测定值。
另外,检测器与显示器分离的方式,适合用于机械的组立。多种显示和控制用显示器可供选择,具备单一测定、和差演算、峰值对峰值、3段精度显示等功能可满足各种测量需求
产品特点:

1, 超小型盒装设计、适合植入设备中使用。,
2, 具备原点检出功能,关闭电源后不需再进行归零。
3, 固定螺丝设计在检测器下部,可避免安装过紧时破传感器本体。
4, IP67保护等级,EMC指令(CE认证)
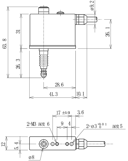
产品规格尺寸:

形式 | IPD-B505F/05M | IPD-B505F/2M | IPD-B505F/2M-03N | |
测量范围 | 5mm | |||
读取量 | 0.5μm | |||
指示精度 | 1μm以下 | |||
测定力 | 1.08N以下 | 0.3N以下 | ||
响应速度※1 | 2000mm/sec | |||
保护等级 | IP67 | |||
原点位置 | 距离行程下死点约1.3mm | |||
重量 | 约63g | 约110g | ||
链接线长 | 0.5m | 2m | ||
标准规格 | 测头※2 | F-201(陶瓷) | ||
橡胶防尘套 | M-138 | |||
⊙特殊规格(如测定力等)的订制请与我们洽谈.
※1即为保证正常输出信号条件下测定轴可达到的快移动速度
※2可更换其他规格的测头使用。

产品使用:

【下方固定可实现高密度装配】

采用固定孔下置的设计,可以进行高密度的多组组合,并可以避免由于锁定套筒过紧造成的动作不良。具有定位孔,可对应定位栓使用,重新安装时更加方便。
配件延长线 | 长度 | 2m | 3m | 5m | 10m |
型式 | SDA-2340-(1)2M | SDA-2340-(2)3M | SDA-2340-(4)5M | SDA-2340-(6)10M |
⊙IPD-B505F、IPD-P510、IPD-B515、IPD-B535、IPD-C1003、DG-105B共同的缆线。
订购:西铁城CITIZEN探针IPD-B505F








1960544536 


