春亨产品中心
- 按产品特性分类
- 水平仪 偏心仪 角度计 直角尺 同心度仪 高速主轴 内外测卡规 打磨机 钻石膏 各种量表 磨刀石 研磨油石 切削刀具 研磨刷 研磨工具 磁性工具 放大镜 内视镜 卡尺 千分尺 圆周尺 扭力工具 针规 间隙规 速度测试 高度尺/计 测量工具 硬度计 段差尺 焊道规 V型座 磁性吸盘 推拉力计 吊重磁盘 工业胶粘剂 研磨抛光 钳类工具 旋具工具 热敏试纸 粘度计 电子称 金属锉刀 复制胶膜 螺帽规 背孔刀 气动主轴 自动换刀主轴 防静电主轴 MSIY电主轴 高精密主轴 大扭矩电主轴 高斯计 直角电主轴 进口百分表 扭力起子 中村扭力扳手 脱磁器 螺纹深度规 主轴增速刀柄 RBZ浮动主轴 中心出水电主轴 气浮主轴 螺纹规
- 按应用领域分类
- 工程机械 数控机床 汽车制造 电子/光电 橡胶皮革检测 船舶制造 实验室/研究院 纺织业 精加工 雕刻 珠宝首饰 陶瓷工业 抛光去毛刺 PCB分板机加工 铣削加工 钻孔动力头 医疗加工 走心机高频铣 浮动去毛刺 小径深孔加工
- 按品牌分类
- AAA ASKER B2 BOWERS CITIZEN DMT FUJITOOL FISSO FUJIGEN HONDA GLOI HEINE KANETEC IMADA KANON KAYDIAMOND KROEPLIN MEYER MARUI MITUTOYO NAKANISHI PEACOCK PEAK PHOENIX PI-TAPE RSK RHEINTACHO SK SPI SUN SUPERTECH SWAN UNIVERSAL NOVAPAX XEBEC WIXEY Teclock tohnichi 富士KOSOKU RUBICON KEIBA TAJIMA NIKON Stanley SPI Engeering MARKAL PTC TMC THERMAX RION SHINKO STAO佐藤 TSUBOSAN OSKAR SCHWENK MARK-10 Microset starrett EENPAIX OJIYAS DIGITECH ROECKLE tites swiss Yamato Cherry DAIWA RABIN MSIY NRS PPS NSK
相关资讯
- 钛合金弧面钻孔,总是容易打偏怎么办?
- 预计全球前15大半导体厂商三季度营收1192亿美元
- MSIY无刷电主轴外径25mm,走心机、排刀机加装
- NSK高频铣BM-320F适用于多种走心机型号
- CNC/数控车加装6万转电主轴,秒变精加工高手
- 推荐一款比较畅销的中西气动打磨机,转速3万
- 进口磁性水平尺有创意,服务更有诚意
- 进口扭力工具,选择春亨工具让您省心
- 中西换刀主轴NR50-5100ATC,PCB钻孔研磨切割可用
- 进口孔距卡尺,日本中村KANON是您不二之选.
- NAKANISHI主轴新产品
- 机器人铣削电机机芯焊缝,用这款1400W大扭矩电主轴
- 加工中心加装这款高速气动主轴,可以研磨内孔
- HES810-BT40增速刀柄,半导体精密零件钻微小孔
- 高频铣上的线缆被固定后,有其他方式来拆卸主轴吗?
- 加装NSK主轴增速器降低企业生产成本
- 冬奥会速度滑冰专用磨刀石
- 拉力棒你用哪个牌子?中村KNAON拉力棒TK1500
- NRR3060-QC高速主轴旋转异常如何解决?
- 进口卡规使用说明
咨询热线:
彩博888 13612997620
传真:彩博8880755-23033513
Q Q:
地址:深圳市宝安49区华创达文化科技产业园D栋507
产品详情
联系我们
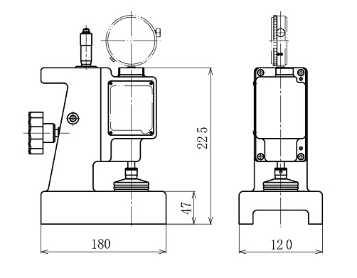
西铁城CITIZEN纸厚测定器MEI-10B
产品应用:

纸厚测定器,纸厚测量仪,精密仪器
产品特点:

JIS规格基准,可测量软胶片、橡胶片等
产品规格:

| 型式 | MEI-10B | MEI-11 |
| 测定范围 | 0-2mm(3M-250只是范围为1mm) | |
| 测定精度 | 2um | |
| 测定压 | 54KPA | 100±KPA |
| 测定条件 | 测定落差0.6mm | 降下速度3mm/sec |
| 测头 | Φ14.3±0.5mm | Φ16±0.05mm |
| 测定台 | Φ17mm | |
| 电源 | - | AC100-240V 50/60Hz |

西铁城CITIZEN纸厚测定器|纸厚测量仪|测试座|内外径测定器
订购:西铁城CITIZEN纸厚测定器MEI-10B








1960544536 


